Le char d'assaut Schneider
"" Il grilla la politesse à son homologue le Saint-Chamond ""
Son histoire par la revue Connaissance de l'Histoire n°47 de juillet/août 1982.
La revue MPM Magazine n°107 - 108 et 111.
Maquette MPM au 1/35 en scratch par Raoul J.-R. Chatillon.
Historique: La guerre tout d'abord de mouvement s'est enlisée dans la boue des tranchées. Les armées immobilisées face à face, se livrent désormais des combats sanglants pour prendre et souvent reperdre aussitôt, quelques mètres carrés d'un paysage dévasté par les pilonnages de l'artillerie. Les Etats-Majors savent que cette guerre sera longue, coûteuse en vie humaines et que la victoire n'est pas assurée.
D'un côté comme de l'autre, on cherche le moyen de débloquer la situation en espérant mettre au point l'arme miraculeuse qui assurera un avantage déterminant sur l'adversaire.
Le char d'assaut Schneider. Source: MPM Magazine n°111 de décembre 1980.
"" Tout commence par un homme, le général Estienne, le père des chars ""
De nombreux pays revendiquent l'invention du char avec quelque chauvinisme. En fait, le char est une invention sans inventeur. L'idée était dans l'air depuis le début du siècle; elle prit forme au même moment en pleine guerre, en différents lieux, chez des hommes qui travaillaient en secret et sans contact entre eux. Il n'en reste pas moins que les Britanniques furent les premiers à essayer un char au combat. La France, plutôt que de remonter le temps à la recherche d'un inventeur national, préfère célébrer les mérites de l'homme qui imposa chez nous l'idée et parvint à la réaliser, un homme pour qui :"réaliser, c'est consentir à faire oeuvre imparfaite" et qui mérite bien le nom de "père des chars" français.
![]() |
| Jean-Baptiste Estienne. |
Petit, trapu, doté d'une verve intarissable, ce militaire génial et irrespectueux des formes et de la hiérarchie n'aurait certainement jamais terminé sa carrière avec le grade de général, sans l'irruption de la guerre. Ce n'est pas par hasard si, en dépit des énormes services qu'il a rendus, il ne part à la retraite que divisionnaire. Audacieux, cynique et déconcertant, ayant toujours le dernier mot, bousculant les idées reçues et détruisant toutes les objections, Estienne était de ceux qui ont un sale caractère parce qu'ils ont tout simplement du caractère ! Estienne démontre à ses supérieurs qu'ils ont tort dans les domaines où ils devraient, par fonction, avoir raison. "Les raisons n'ont pas de galons", disait-il. Dénonciateur infatigable des "technicons" et des "tacticons", révélateur de la médiocrité et de l'incompétence, Estienne ne pouvait qu'être adoré de ses subordonnés et haï de la plupart de ses homologues et supérieurs. Il fallait être Joffre ou Clémenceau pour lui faire confiance.
Alors qu'il est en retraite, après avoir été jusqu'en 1926 inspecteur des chars et directeur des études, on le prie de continuer ses études. Il meurt en 1936. Esprit bouillonnant, franc-tireur de la technique, le général Estienne est de ces militaires mal notés du temps de paix pour leur indépendance d'esprit, de ces penseurs visionnaires que les traditionalistes qualifient d'utopistes pour s'en défendre. L'histoire des blindés est jalonnée de ces stratèges, techniciens ou chefs de guerre dépourvus de tout formaliste : Fuller, Liddell-Hart, Guderian, Rommel, Manteufel, Patton, Leclerc, de Tattre, Dayan, Tal, Sharon...
Dans une célèbre conférence à Bruxelles en 1921, Estienne laisse un testament militaire étonnamment prophétique. Il y prédit l'emploi pour percer les fronts de masses blindées appuyées par l'aviation. "Réfléchissez, Messieurs, au formidable avantage tactique et stratégique que prendraient sur les lourdes armées du plus récent passé cent mille hommes capables de couvrir quatre-vingt kilomètres en une nuit, avec armes et bagages dans une direction quelconque et à tout moment... La rapidité des mouvements est le plus puissant des moyens de surprise. L'ennemi est rompu par l'arme blindée et... nos cent mille hommes se retrouvent prêts à porter une nouvelle opération à cent kilomètres de là..." Il faudra attendre vingt ans pour que les Allemands lui donnent raison.
Le général Estienne passe ses troupes en revue, le 14 juillet 1917, au camp de Champlieu, principal centre d'instruction et d'ateliers de l'Artillerie Spéciale. Au premier plan un Saint-Chamond, d'une section de ravitaillement et de réparation (S.R.R.) dont la mission était d'accompagner les groupements de chars engagés. Source: Connaissance de l'Histoire n°47 de juillet-août 1982.
"" La naissance du char en France ""
Le 25 août 1914, après la bataille de Charleroi et les premiers ravages causés par les mitrailleuses, Estienne avait déjà déclaré : "La victoire appartiendra à celui qui parviendra le premier à monter un canon sur une voiture capable de se mouvoir en tout terrain." Mais Estienne sait que cet engin doit être protégé et l'idée de la cuirasse protectrice le hante. C'est en voyant en 1915 des tracteurs agricoles à chenilles Holt d'origine américaine, remorquant des pièces d'artillerie lourde dans la boue du secteur britannique, qu'il trouvera la solution du problème.
Dans une célèbre lettre datée du 1er décembre 1915, Estienne expose ses vues au G.Q.G. "Je regarde comme possible la réalisation de véhicules à traction mécanique permettant de transporter à travers tous les obstacles et sous le feu, à une vitesse de 6 km/h, de l'infanterie et du canon".
Cette fois, dans son idée de "cuirassé terrestre" telle qu'Estienne la formule, tout y est. La synthèse est enfin réalisée : le blindage pour arrêter les balles et les éclats d'obus, le canon pour détruire les armes automatiques et annihiler les résistances dont l'infanterie ne pourrait venir à bout, les chenilles pour progresser en tous terrains et même franchir trous d'obus et tranchées et le moteur pour animer le tout dans l'univers lunaire du champ de bataille. Estienne envisage moins son engin sous sa forme actuelle de "cuirassier" moderne que sous celle d'un "cuirassé" capable de naviguer dans une mer de boue pour porter les feux d'un canon dans les lignes adverses et y débarquer de l'infanterie. Eu égard à la carrière antérieure du colonel Estienne, son avant- projet ne prit pas le chemin du panier comme tant d'autres, farfelus ou sérieux, soumis au commandement. Tout alla dès lors très vite. Le 12 décembre, il expose son projet au général Janin à Chantilly. Le 20 décembre, il prend contact avec Louis Renault et l'ingénieur Brillié de la société Schneider, avec qui il discute de la réalisation technique du projet. Il rencontre Pétain, de Castelnau et enfin Joffre, le 18 janvier 1916.
Un groupe d'officiers découvre le nouveau matériel, fin 1916, au fort du "Trou d'Enfer" dans la forêt de Marly-le-Roy, premier centre d'entraînement des chars français. Ce châssis d'apprentissage Schneider, dépourvu de blindage, tente de franchir une tranchée. Le défaut du Schneider, encore plus marqué sur le Saint-Chamond, apparaît à l'évidence : l'étrave prévue pour pousser les barbelés rend le franchissement difficile, car l'avant se plante en terre et la chenille trop courte et située trop en arrière ne peut mordre sur le talus. Source: Connaissance de l'Histoire n°47 de juillet-août 1982.
Dans une célèbre lettre datée du 1er décembre 1915, Estienne expose ses vues au G.Q.G. "Je regarde comme possible la réalisation de véhicules à traction mécanique permettant de transporter à travers tous les obstacles et sous le feu, à une vitesse de 6 km/h, de l'infanterie et du canon".
Cette fois, dans son idée de "cuirassé terrestre" telle qu'Estienne la formule, tout y est. La synthèse est enfin réalisée : le blindage pour arrêter les balles et les éclats d'obus, le canon pour détruire les armes automatiques et annihiler les résistances dont l'infanterie ne pourrait venir à bout, les chenilles pour progresser en tous terrains et même franchir trous d'obus et tranchées et le moteur pour animer le tout dans l'univers lunaire du champ de bataille. Estienne envisage moins son engin sous sa forme actuelle de "cuirassier" moderne que sous celle d'un "cuirassé" capable de naviguer dans une mer de boue pour porter les feux d'un canon dans les lignes adverses et y débarquer de l'infanterie. Eu égard à la carrière antérieure du colonel Estienne, son avant- projet ne prit pas le chemin du panier comme tant d'autres, farfelus ou sérieux, soumis au commandement. Tout alla dès lors très vite. Le 12 décembre, il expose son projet au général Janin à Chantilly. Le 20 décembre, il prend contact avec Louis Renault et l'ingénieur Brillié de la société Schneider, avec qui il discute de la réalisation technique du projet. Il rencontre Pétain, de Castelnau et enfin Joffre, le 18 janvier 1916.
Ce char Schneider du groupe Bossut est l'un des rescapés de l'offensive du 16 avril 1917. Le blindage est percée d'éclats d'obus. Source: Connaissance de l'Histoire n°47 de juillet-août 1982.
Le 17 février 1916, la commande de 400 "tracteurs d'artillerie" (nom de camouflage donné en France aux chars) est passée chez Schneider. Mais la réalisation de ce char ayant échappé au contrôle des services responsables de l'armement, ceux-ci en prirent ombrage et estimèrent qu'on empiétait sur leurs prérogatives. Piqués au vif, les services techniques voulurent prouver qu'ils savaient mieux faire et appuyèrent un nouveau projet qui déboucha sur la commande et la construction de 400 exemplaires d'un second modèle de char, le Saint-Chamond.
En août 1916, Estienne est affecté au G.Q.G. avec le grade de général de brigade comme commandant de l'artillerie spéciale, (A.S.), subdivision de l'artillerie qui emploiera les chars.
"" Les épreuves ""
Pour diverses raisons, la réalisation du char C.A. 1 (Char d'Assaut n°1) Schneider ne fut pas aussi rapide que la prise de décision.
L'armée britannique nous devança en essayant ses premiers Tank Mark I (moteurs I), le 15 septembre 1916, à Flers-Courcelette dans la Somme. Les Français suivirent sept mois plus tard en engageant, le 16 avril 1917, deux groupements de Schneider à Berry-au-Bac, dans le cadre de l'offensive Nivelle. L'opération connut un succès initial puisque les chars percèrent.
Mais un des groupements, arrêté par une tranchée élargie, fut écrasé par l'artillerie allemande, tandis que l'autre résista trois heures dans les lignes ennemies sans que l'infanterie distancée ait pu le rejoindre. Il dut finalement se replier. L'opération fut un échec. Plus de la moitié des chars furent détruits.
Mais un des groupements, arrêté par une tranchée élargie, fut écrasé par l'artillerie allemande, tandis que l'autre résista trois heures dans les lignes ennemies sans que l'infanterie distancée ait pu le rejoindre. Il dut finalement se replier. L'opération fut un échec. Plus de la moitié des chars furent détruits.
Char Schneider vu de l'arrière, en cours de chargement sur une remorque.
Source: MPM Magazine n°108 de septembre 1980.
A Arras, les Britanniques connurent à nouveau l'insuccès et leurs chars s'enlisèrent en Flandre. Les Allemands, alertés par le premier essai des chars à Flers, estimèrent alors que les parades qu'ils avaient développées (tranchées élargies, action antichar de l'artillerie, mise au point de balles perforantes et de fusils antichars, etc...) étaient suffisantes et n'accordèrent aucune crédibilité au char. Il faillit bien en être de même dans le camp allié où l'arme naissante suscita le doute. La construction du Schneider manqua d'être arrêtée et la commande du char léger FT 17 ajournée. C'est l'appui de Pétain et celui de Clemenceau qui sauva la situation. Mais surtout, le succès britannique à Cambrai, le 20 novembre 1917, où des centaines de chars réussirent une percée jamais vue depuis la stabilisation du front (7 à 8 km de profondeur sur 11 km de large), redonna confiance dans le char.
L'arrivée massive des chars légers FT 17 permettra d'assure la relève des chars moyens Schneider et Saint-Chamond, dont les effectifs fondirent lors des contre-attaques répétées de juin et juillet 1918, pour arrêter la dernière offensive allemande. Dès septembre, le FT 17 provoque partout la surprise chez l'ennemi par son nombre. On l'appellera le "char de la victoir". Ce FT 17 de la collection du musée des Blindés est en parfait état de marche. Les panneaux ouverts permettaient au pilote d'accéder à son poste de conduite, solution que l'on retrouvera plus tard sur les chars légers R 35 et H 35/39. Source: Connaissance de l'Histoire n°47 de juillet-août 1982.Jusqu'en mars 1918, les chars sont lancés dans des engagements progressifs assez décousus. Les Schneider et les Saint-Chamond, qui tenaient plus du canon d'assaut que du char puisqu'ils ne possédaient pas de tourelle, étaient lourds et peu maniables. Ils furent à l'origine de succès locaux et temporaires, mais ne pouvaient à eux seuls emporter la décision, c'est-à-dire provoquer une large rupture du front et l'exploitation qui devait suivre. Au fur et à mesure d'engagements répétés, leur nombre diminuait sans cesse, sans que de nouvelles commandes interviennent.
Ce char Schneider vu de trois-quart avant; remarquer sur le toit, l'espèce de rambarde tenant lieu de porte-bagages. Source: MPM Magazine n°108 de juillet-août 1980.
"" Le char Schneider en action ""
"" Le char Schneider en action ""
Les premiers Schneider et Saint-Chamond furent engagés dans l'Aisne, le 16 avril 1917, sans grands résultats, l'infanterie n'ayant pu les suivre. Sur les 132 chars amenés au combat, 76 avaient été détruits. L'expérience fut plus concluante le 5 mai 1917 lors de l'attaque du moulin de Laffaux. Ces premiers engagements montrèrent également les imperfections des Schneider et Saint-Chamond, dictant des transformations impératives : sur le blindage latéral du Schneider, trop vulnérable à la balle "K" à noyau d'acier, mise au point par les Allemands, patins de chenilles plus larges.
Au total 400 Schneider furent construits, mais les défauts étaient trop important pour que la construction soit poursuivie, les chars légers Renault FT 17 viendront rapidement remplacer ces vétérants, prématurément à bout de souffle par un usage intensif. Un seul Schneider existe encore de nos jours, conservés au Musée d'Aberdeen dans le Maryland (USA).
Certaines photos sont de faible qualité, mais leur intérêt est indiscutable.
Source des photos: MPM n°111 de décembre 1980.
"" Description du char Schneider ""
"" Description du char Schneider ""
Le char Schneider était un engin trapu (longueur 6,000 m; largeur 2,000 m; hauteur 2,400 m) semblant résulter du croisement d'un monstre antédiluvien et d'une boîte en fer pour biscuits. Un châssis formé de longerons d'acier supporte le moteur (60 ch 4 cylindres) placé à l'avant. Ce châssis repose par l'intermédiaire de ressorts hélicoïdaux sur des chariots comprenant trois ou quatre galets roulant sur les chenilles.
Sur le châssis est fixé un caisson blindé de plaques d'acier. L'aération est assurée au moyen d'un lanterneau fixé sur le toit. Des volets inclinables percés de meurtrières permettent à l'équipage de voir à l'extérieur. Une porte à deux battants est placée à l'arrière du caisson, entre les deux réservoirs de carburant. Sur le toit, trois trappes forment les issues de secours pour l'équipage. L'avant du char, en forme d'étrave, porte un rail d'acier destiné à coupé les barbelés.
L'armement consiste en un canon court de type 75 S ou BS placé dans la partie avant droite du caisson et orienté obliquement par rapport à l'axe du char. Le char emporte une réserve de 90 obus. Deux mitrailleuses Hotchkiss modèle 1914 sont montées sur chaque face latérale du char, sur un support à pivot muni d'un bouclier hémisphérique.
L'équipage se compose d'un chef de char conducteur et de cinq hommes qui servent le canon et les mitrailleuses. Muni de deux réservoirs d'une contenance totale de 160 litres d'essence, le Schneider a une autonomie de 50 km. Son poids total est de 13,5 tonnes, sa vitesse de 2 à 4 km/h, et sa capacité de franchissement d'une tranchée de 1,500 à 1,800 m.
Source pour les photos: MPM Magazine n°111 de décembre 1980.
"" La maquette MPM du char Schneider en Scratch par Raoul J.-R. CHATILLON ""
"" La maquette MPM du char Schneider en Scratch par Raoul J.-R. CHATILLON ""
Construction de la maquette: La construction du Schneider ne présente pas de difficultés majeures pour un maquettiste patient; le plaisir d'ajouter à sa collection une pièce unique et totalement inédite, le récompensera largement des longues heures de travail nécessaires à la construction.
On reportera d'abord sur du plasticarte les différentes pièces; on les coupera soigneusement aux dimensions, on percera les ouvertures, et on repoussera les rivets, à l'envers des pièces avec une règle et un poinçon fin. Le reste n'est qu'une question de patience de de soins...!
Plan au 1/76 (à multiplier par 2,174 pour obtenir le 1/35). Noter que des différences plus ou moins importantes pouvaient apparaître entre plusieurs chars, du fait du manque de coordination entre les divers ateliers de construction et de réparation. Source: MPM Magazine n°107 de juillet-août 1980.
Plan pour les pièces à découper.
Le châssis et le caisson: (carte plastique de 5/10).
a) - Le châssis - Découper les pièces 1-2-3-4-5614-15. Coller les entretoises 4 et 5 perpendiculairement aux longerons 2 et 3 (figure 1). A l'extrémité de 2 et 3, coller la pièces 15. Sous le châssis, coller la pièce 14. Coller enfin le plancher 1 sur le châssis.
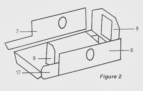
b) - Le caisson - Coller la paroi gauche 6 et droite 7 de part et d'autre du plancher 1. Coller la paroi arrière 8 sur le plancher entre 6 et 7, puis la pièce 9 sur 1 contre 6. Coller la pièce 17 contre 1 à l'extrémité de 9 (figure 2).
Coller les panneaux de la cabine du conducteur (11-12-13) et coller l'ensemble sur le plancher, la pièce 13 s'ajustant contre 9, coller ensuite le panneau 10 contre l'extrémité de 7 et de 11 (figure 3).
L'étrave du char est délicate à assembler et nécessite un maximum de précision dans la découpe et le collage des pièces. Coller d'abord la base a de la pièce 16 au bas de la pièce 15. Pendant que le collage garde toute sa souplesse, coller les pièces 18 de chaque côté de 16 et contre l'extrémité de 7 et de 17. Coller ensuite la pièce 19 sur 1 et contre 12, la pièce 20 sur 18 et contre 10-11-19. Laisser sécher.
Pendant ce temps, coller à l'envers de l'ouverture du capot 22 un treillis fin (provenant d'un surplus du SdKfz 222 de chez Tamiya). Un morceau de bas fin fera aussi bien l'affaire. Sur le pourtour de l'ouverture, à l'endroit de 22, coller une baguette rivetée de 1,5 mm de large en plasticarte mince. Coller le capot 22 en place sur 19-20-21-17 et contre 12, puis la pièce 24 (figure 3).
C) - Le canon - Découper le bouclier du canon dans une balle de ping-pong ou dans le container plastique des œufs Kinder-surprise.
Le tube du canon est réalisé dans un morceau de grappe de 14 mm de long et de 4 mm de diamètre, percé à l'extrémité et collé contre le bouclier. La pièce de section ovale est un morceau de grappe de 7 mm de long convenablement limé et collé sur le tube contre le bouclier (figure 4). Après séchage, passer le canon par l'ouverture, sur la face interne de 10 et coller le bouclier contre l'ouverture.
d) - Les mitrailleuses - Les boucliers sont faits à partir d'une boule tirée d'un gadget "Pif" (mais toute autre sphère d'un diamètre adéquat peut être utilisée...) et une fente étroite y a été pratiquée au couteau X-acto, afin de laisser passer la mitrailleuse en plastique étiré. Les mitrailleuses seront mises de côté et collées tout à la fin du montage, pour éviter de les briser au cours des manipulations ultérieures. Coller les boucliers dans les ouvertures circulaires sur la face interne des parois 6 et 7.
c) - Le toit - Pour assembler le lanterneau d'aération, plier la pièce 42 suivant les pointillés, après légère incision, pour faciliter le pliage et coller a de 42 contre a de 45.
Procéder de même pour la pièce 46 en collant b contre b de 42. Attention, la pièce 46 est à placer sur et non entre les pointes triangulaires de 42 ! Coller enfin les pièces 43 et 44 sous la pièce 42, le long des pliures.
Après assemblage à blanc du toit et ajustage éventuel, le coller sur le caisson. Coller alors le lanterneau au milieu du toit, la partie arrière du lanterneau affleurant le bord du toit.
f) - Finition du caisson - Coller les pièces 27-28-29-30-31 des réservoirs (deux ensembles) et fixer chaque réservoir à l'arrière de la pièce 8 de part et d'autre de l'ouverture.
Assembler les pièces 32-33-34-35 et coller chaque ensemble sous les réservoirs. Coller les deux portes 41 sur l'ouverture et réaliser deux poignées en plastique étiré.
Coller la pièce 36 à l'extrémité du châssis. Rouler la pièce 40 pour la mettre en forme et la coller sur les pièces 38 et 39. Chacune de ces "pelles", destinées à aider le char pour le franchissement des tranchées, est à coller aux deux extrémités de la pièce 36 (figure 5).
Au milieu de 36, entre les pelles, coller un gros crochet prélevé dans la boîte à surplus ou fabriqué en plastique étiré. Coller le marchepied 37 sur 36 et contre 8.
Confectionner le rail tranche-barbelés en collant dos à dos dos deux bandes de plasticarte de 2 mm de large et de 25 mm de long et le tout à chant, perpendiculairement à une troisième bande de mêmes dimensions. Coller l'ensemble sur l'étrave, à la jonction des pièces 18.
Le système d'éclairage est construit à partir d'un phare de Rolls-Royce Silver Ghost Airfix pour le gros projecteur électrique. La petite lampe à acétylène est faite d'un morceau de grappe, ainsi que son support. Toutes ces pièces sont fixées sur la petite console 51 qui sera collée sur la paroi 9 (figure 6).
Coller les trappes de toit 48-49-50. Découper les bouchons de réservoirs et celui placé sur la partie avant gauche du toit (diamètre 3 mm), ainsi que celui placé sur le capot (diamètre 5 mm) et les coller.
Baguettes et cornières à rivets apparents sont coupées dans du plasticarte de 2 mm de large et collées sur 6-7-10-11-18-19-20-21-22-24 (voir le plan pour leur emplacement exact).
Coller deux volets 26 sur 6 et 7 et un sur 13; coller les volets 25 sur 11 et 12, en position ouverte. Les charnières sont en plastique étiré et en carte plastique mince.
Au bas des parois 6 et 7, on collera deux crochets en L, de 4 mm de large, dans lesquels on placera un madrier (balsa ou plastique) qui était glissé sous les chenilles pour aider le char à se tirer des terrains boueux.
Pour finir, on collera le tuyau en plastique étiré coudé à chaud, contre le réservoir gauche et maintenu par des pattes en plasticarte de 1,5 mm de large. Un petit périscope taillé dans une chute de plasticarte sera collé sur le toit de la cabine du conducteur et la tuyauterie en U fixée devant le conducteur sera collée sur le capot.
Deux aspect de la caisse en cours de construction. Source: MPM Magazine n°108 de septembre 1980.
"" Le train de roulement ""
"" Le train de roulement ""
Voici la partie la plus complexe et la plus fastidieuse de la construction. Il a fallu interpréter les plans (qui ne sont pas toujours explicites) en tirant partie des photos glanés dans différents livres et sur lesquelles le train de roulement est le plus souvent empâté par la boue !
Les pièces A-B et L sont en plasticarte de 10/10 mm d'épaisseur. Les autres ont 5/10 d'épaisseur.
Les galets et rouleaux du train de roulement ont été fabriqués de la façon suivante : un des rouleaux supportant la chenille d'un char "Semovente" Tamiya a été prélevé sur une ancienne maquette. Une aiguille chauffée est fichée à chaud derrière cette pièce qui va servir de modèle pour le moulage.
On imprime la pièce en creux dans une bande de ^pâte à modeler bien plane (on a besoin de 14 galets, mais on fera quelques empreinte supplémentaires, car il y a toujours quelques ratés au moulage). Cette matrice est mise à durcir quelques heures dans le freezer du réfrigérateur. Pour mouler les galets on utilisera une pâte plastique qui durcit à l'air, et qui est vendue dans les librairies éducatives sous le nom de Plasticolle. Rouler entre les doigts de petites boulettes de pâte que l'on presse fortement dans les empreintes de la matrice. Laisser sécher 24 heures. Démouler et ébarber le surplus de matière avec une lime.
Deux phases de la réalisation du train de roulement. Source: MPM n°108.
L'opération est identique pour le moulage des rouleaux. La pièce Tamiya servant de modèle a été simplement ramenée à un diamètre inférieur, grâce à quelques coups de lime. Les galets seront collés contre la face intérieure des pièces A et B (figure 7) et les rouleaux contre l'intérieur des pièces L.
Coller les entretoises C sur A et B, puis la deuxième pièce A et B sur les entretoises. Procéder de même en collant les entretoises M sur L, puis la deuxième pièce L sur entretoises. Coller les plaques D sur les chariots A (deux plaques D par chariot).
Plier F suivant le pointillé et coller F sur E. Plier la cornière G et la coller dur l'angle de F. Coller chaque ensemble EFG sur les chariots A et B, en laissant 2 mm d'intervalle entre A et B. Le barbotin d'entraînement des chenilles est fait de quatre disque de 10/10 mm d'épaisseur. Coller d'abord les disques A et B l'un contre l'autre et y dessiner les dents du barbotin avec une lime queue de rat (figure 8). Coller les autres disques comme indiqué.
L'axe et le moyeu sont fabriqués dans un morceau de grappe. Une sorte de papillon en plasticarte est collé sur le moyeu. La poulie de renvoi est fabriquée à partir de bandes de plasticarte de 5/10 d'épaisseur et de 3 mm de large.
On colle successivement trois couches de bande l'une contre l'autre autour d'un foret diamètre 12 mm. Après un long séchage, on ponce au papier de verre très fin pour faire disparaître toute trace de joint entre les bandes. Autour d'un axe fait d'un morceau de grappe, on colle les six rayons de la poulie (faits également de trois bandes contre-collées) contre l'intérieur du bandage. Un long séchage est nécessaire (figure 9).
Coller chaque poulie à l'extrémité des fourches à coulisseau assemblées avec les pièces I-J-K, coller contre K les petites pièces (fil étiré coupé en rondelles et plasticarte), coller au milieu de la fourche un morceau de fil étiré représentant la tige filetée (deux tiges filetées par fourche), puis au milieu de l'axe de la poulie, coller un boulon à six pans limé dans un morceau de grappe. Coller alors chaque fourche à l'extrémité des chariots B. Fabriquer les biellettes en plasticarte et les coller sur B (figure 10). Dans un morceau de grappe, étiré, couper de petites rondelles représentant tous les gros boulons du train de roulement et les coller en se référant au plan.
Fabriquer quatre ressorts hélicoïdaux en enroulant, très serré, du fil métallique très fin sur des morceaux de grappe de 7 mm de long. Coller les ressorts sur les plaques D fixées sur les chariots A. Coller les quatre dernières plaques D sur les flasques L et le sommet des ressorts contre ces plaques. Coller l'extrémité des biellettes sur L.
"" Les chenilles ""
Chaque chenille compte 34 patins de 13 mm de large et de 7 mm de long. On les découpe dans du plasticarte de 5/10 (figure 11) et on les colle côte à côte sur une bande de 3 mm de large et de 240 mm de long coupée dans un sac en plastique mince comme en distribuent les supermarchés. Chaque patin est relié à son voisin par une charnière faite d'un morceau de bâton de sucette, fendu longitudinalement et collé à l'extrémité de chaque patin. La voie ("ancêtre" de la "denture" interne des chenilles...) maintenant la chenille sur les galets, est faite de deux fois 34 petites pièces de 1,5 mm de large sur 6 mm de long, collées de part et d'autre de la bande centrale (figure 11). La chenille ainsi obtenue est d'une grande souplesse et on la fixe à la colle néoprène sur la poulie, les galets et les rouleaux du train de roulement.
Coller ensuite le train de roulement contre le châssis. Laisser sécher; engager les dents du barbotin dans la voie centrale de la chenille et en la maintenant tendue, coller l'axe du barbotin contre le châssis.

"" Peinture et finition ""
La maquette, après dégraissage au moyen d'un détergent du commerce, est peinte d'une couche de fond faite d'un mélange de brun humbrol M62 + Sand M63 (2/3 + 1/3). La couleur obtenue est un ocre tirant sur le brun, caractéristique des blindés français de cette période. Après 24 heures de séchage, on applique le camouflage fait d'un mélange de vert M66 +French artillery green MC21 (2/3 + 1/3) et peint suivant les contours tels que les représente une photo du livre du Capitaine Dutil (voir bibliographie).
Après séchage, on entoure d'un "jus" brun foncé, les rivets, les rainures du caisson et du train de roulement. Laisser sécher, puis retravailler toutes les surfaces à la brosse sèche en nuançant la couche de base, en représentant les traînées de rouille sous les rivets, l'usure par la pluie de la peinture par des touches de couleur rouille et gris sale.
Les chenilles sont peintes couleur rouille + une pointe de gun métal et retravaillées à sec à la brosse, de traces de boue plus claires; le train de roulement est sali de la même façon, ainsi que le dessous et l'étrave du char.
D'après une photo du livre AFV of WWI, le char a reçu l'immatriculation 61310 peinte en blanc à la pointe du capot et derrière le réservoir droit. Trois petites barres blanches ont été peintes à mi-hauteur de chaque réservoir et sur les côtés.
"" Présentation de la maquette ""
La maquette a été placée sur un socle de contre-plaqué sur lequel a été collé une plaque de polystyrène expansé recouverte de plâtre. Le plâtre badigeonné de colle vinylique à bois a été saupoudré de sable et de gravier fin. Une ruine Italeri a été plantée à l'arrière-plan et surélevé par rapport au niveau du sol. Des gravats et éboulis (petits morceaux de béton ramassés sur un chantier) ont été collés au pied des murs.
Les figurines sont des transformations de tirailleurs sénégalais Heller (les têtes proviennent du groupe mitrailleuse Hotchkiss Heller). Les moustaches et les sourcils en broussaille ont été ajoutés à l'aide de mastic Testors dilué dans une goutte d'acétone et appliqué au pinceau. Les uniformes sont peints en gris bleu humbrol HF4. La bicyclette chargée de musette (Heller et boîte à surplus) vient du kit Schwimmwagen Italeri. Les pipes sont en plastique étiré. Bidons et caisses viennent de différents kits (Heller-Esci). Le poteau indicateur en plasticarte indiquant les direction de Soissons et Villers-Côterets est censé situer la scène dans le département de l'Aisne, alors que blindés et troupes se concentraient pour la grande contre-offensive du 18 juillet 1918.
"" Bibliographie ""
AFV 1914-19 Armoured Fighting Vehicles of WWI (Profile Publications).
Article et plan au 1/76 de Dick Harley dans la revue "Tankette".
Les chars d'assaut du Capitaine Dutil (Berger Levrault Ed. 1919).
Revue "De Bello" n°4.
Les unités de chars moyens 1916-18 par D.V. Boisduloup.
Collection reliée de "L'Illustration" 1914-18.
MPM Magazine/Jean-Marie



































.jpg)



Commentaires
Enregistrer un commentaire